Canon 近日公開的一項新專利,展示了能同時支援電動與手動控制的內建增距鏡技術,預示著未來長焦鏡頭的操作將迎來更多可能性。
打破傳統限制,電動與手動並行的靈活設計
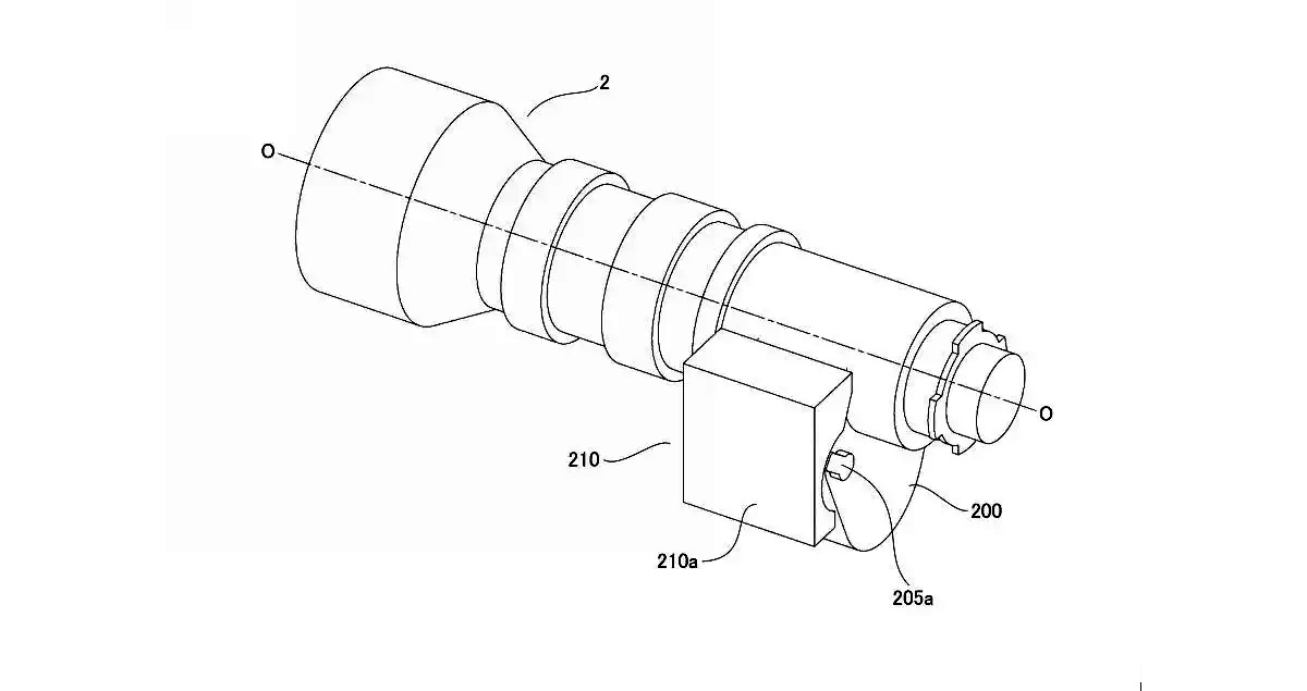
根據最新公開的專利文件(公開編號 P2026003647),Canon 提出了一種新型的電動操作裝置,旨在解決鏡頭內建增距鏡在電動化過程中的操作矛盾。這項設計最核心的價值在於「共存」,裝置在安裝於鏡頭後,依然能保留部分手動操作件露出。這意味著攝影師在現場可以直接手撥切換,而在需要遠端連線或精確自動控制時,則能透過電控系統無縫接軌,提供極高的使用彈性。

外掛式電動模組,或將成為專業長焦新標配
從專利描述的結構來看,這套系統似乎傾向於採用類似目前 RF 鏡頭電動變焦轉接器(Power Zoom Adapter)的外掛式概念。這種模組化設計的好處在於,攝影師可以根據拍攝需求決定是否增加這份重量。對於需要長期定點蹲捕野生動物,或是將相機架設在高處、遙控雲台上的運動攝影師而言,能透過相機端或電腦端直接控制增距鏡的切換,將大幅提升工作效率,並減少因手動接觸鏡頭而產生的震動。

擴展影像創作邊界,錄影領域的新利器
這項技術對影片創作者來說同樣具有吸引力。目前的內建增距鏡在切換時往往會伴隨較大的震動與聲音,不適合在錄影當下操作。若能結合電動控制與平滑的切換機制,未來或許能在錄影過程中實現更平順的焦段跳躍。此外,這也引發了外界對於佳能未來新鏡頭規劃的聯想,是否會有更多如 RF100-300mm F2.8 L IS USM 等級的專業鏡頭,也會在設計之初就考慮與此類電動裝置的相容性。
via:asobinet
請注意!留言要自負法律責任,相關案例層出不窮,請慎重發文!