頭條文章
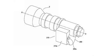
遠端操控不再是夢?Canon 公開內建增距鏡「手電一體」控制新專利
2026.01.25 16:00
寶刀未老!RTX 3080 實測 DLSS 4.5:雖有 20% 效能代價,畫質進化仍讓老卡戰未來
2026.01.25 15:30
台幣 2000 元不到!5 吋開發板神還原 Mac OS 8.1,經典「快樂麥金塔」一手掌握
2026.01.25 14:30
OWNDAYS CONNECT 在日本推出:聽音樂、通話不漏聽周遭聲音,通勤族必備新選擇!
2026.01.25 14:00
年菜生存戰開打!靠科技廚電掌握精準火候,恆隆行推 WMF 壓力鍋、Braun 調理機優惠
2026.01.25 13:30
Steam 同時上線人數再創新高!全球在線玩家首度突破 4,200 萬大關
2026.01.25 12:30
台灣「魔神仔宇宙」的幕後推⼿:紅衣小女孩股份有限公司陳信吉總經理專訪,解密 ProArt 如何精準還原駭⼈細節
2026.01.23 17:19
〔實體講座〕下一代創作者的生存法則,解析從『素材』到『作品』,在 AI 平權時代的生存關鍵
2026.01.22 10:00
〔限額招募〕AI 創作世代的決勝點?Crucial 高速傳輸重塑工作流,讓運算跟上你的靈感!
2026.01.22 09:30
CD Projekt財報超狂!《巫師3》狂賣6千萬套、《電馭叛客2077》浴火重生衝破3500萬!波蘭遊戲稱霸全球!
2026.01.25 11:00
LG 推尊榮保養服務協助年終家電健檢,電器展祭出空調與洗乾衣機優惠
2026.01.25 10:30
AMD 承諾讓 Radeon 顯示卡價格維持親民,避免在記憶體缺貨潮中飆漲
2026.01.25 09:30
2026 Red Bull Basement 徵件開跑:攜手微軟與 AMD 支援 AI 開發,優勝者將赴矽谷角逐創業基金
2026.01.25 08:30
新創「宙斯」GPU狂嗆NVIDIA!宣稱光追超越5090達10倍、AI勝300倍,逛遍會場卻只見PPT
2026.01.24 16:30
Xbox Developer Direct 2026 重點整理:《極限競速:地平線 6》5/19 發售、《神鬼寓言》秋季登場
2026.01.24 16:00
Canon MAXIFY GX7170 商用連供傳真複合機開箱實測:超大印量、四色防水與雷射級高效列印一次滿足!
2026.01.21 09:20
別再被AI騙了,吳恩達打算設計「圖靈-AGI測試」:AI要能實戰工作才算真本事!
2026.01.24 15:30
《猩瘋血雨》揭露「零CGI」黑猩猩特技的極限挑戰,派拉蒙如何打造恐怖新典範?
2026.01.24 15:00




